PT TS 71/83

15.5 EUR (fara TVA)

Cod produs: pt TS 71/83

Producator: DORMA, Germania

Cantitate:

Rating:

Adauga un review

Nici un review

ADAUGA UN REVIEW

standart pt TS 71/83
finisaj:Alb/Ag




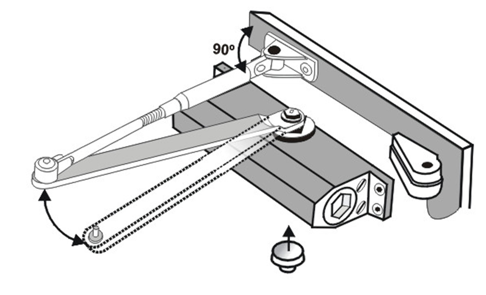
ATENTIE ! MONTAJUL AMORTIZORULUI SE VA FACE IN INTERIORUL CLADIRI CAT MAI FERIT DE INTEMPERII


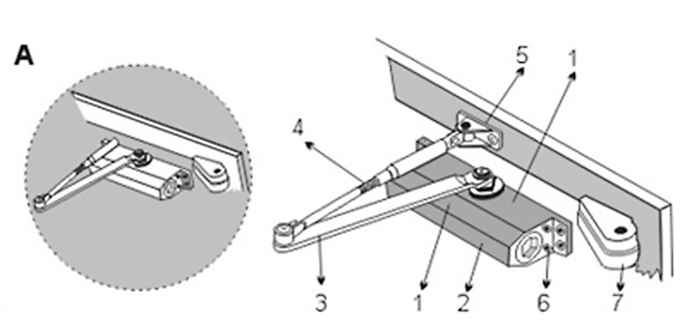
1. Fixati corpul amortizorului pe usa, pozitinarea lui fãcãdu-se conform sablonului A, forta dorita corelata cu greutatea usii. Strangeti cu cele 4 suruburi. Ptr. usi de lemn se folosesc holsuruburi cap cruce cu 6 X 30. Ptr. usi de metal se folosesc suruburi M 6.


2. Fixati talpa bratului secundar al amortizorului pe tocul usii astfel incat gaurile sa se potriveasca cu cele de pe toc si strangeti cu 2 suruburi. Ptr. usi de lemn se folosesc holsuruburi cap cruce cu 6 X 30. Pentru usi de metal se folosesc suruburi autofiletante cap cruce M 6 X 1,0 X 12.


3. Prindeti bratul principal de corpul amortizorului. Potriviti orificiul patrat de la capatul bratului pe axul patrat al, amortizorului, si fixati-l prin strangerea surubului in ax.
4. Prindeti intre ele bratele amortizorului. Potriviti bratul secundar astfel incat sa fie vertical pe tocul usii apoi prindeti-l de bratul principal cu surubul in articulatie.

5. Ptr. estetica amortizorul are un capac de plastic care mascheaza axul de pe partea opusa bratului.
F. CUPLAREA - DECUPLAREA STOPERULUI

ATENTIE! NUMAI PTR. BRATUL PREVÃZUT CU STOPER

În anumite situatii este nevoie ca actiunea amortizorului sã fie anulatã si usa sã rãmãnã deschisã pentru o anumitã perioadã. Realizarea acestui lucru se face cu ajutorul stoperului aflat pe bratul amortizorului.
Astfel, atunci cãnd se doreste blocarea usii în pozitia deschis, este suficient sã se deschidã usa mai mult respectiv pãnã în zona de actionare a dispozitivului de blocare din stoper.
Pentru deblocare se impinge usa peste punctul de blocare, moment în care dispozitivul de blocare din stoper este scos din functiune, amortizorul reluîdu-si functia de inchidere.
1.) CUPLAREA STOPERULUI

Pentru ca stoperul sã tinã deschisã usa într - o pozitie doritã, urmati instructiunile referitoare la Fig. 1:
1. Deschideti usa pãnã în pozitia doritã si strãngeti surubul “ A “ fãrã sã -l fortati.
2. Prin miscãri usoare de inchidere - deschidere ale usii concomitent cu strãngerea surubului “ a “ faceti în asa fel încãt dantura angrenajelor din articulatia cele douã brate sã coincidã .
3. Asigurati - vã cã angrenajul coincide perfect si strãngeti ferm surubul “ A “
4. Ungeti periodic angrenajul.
2.) DECUPLAREA STOPERULUI

În cazul în care se doreste anularea actiunii stoperului, urmati instructiunile de mai jos, referitoare la Fig.2:
5. Închideti usa si desurubati surubul “ A “
6. Rotiti cama “ C “ în pozitia “ D “.
7. Asigurati-vã cã angrenajul este asigurat si strãngeti ferm surubul “ A “.


3.) MODIFICAREA POZITIEI DE BLOCAJ

Dacã se doreste modificarea pozitiei de blocaj, pentru a retine usa deschisã în altã pozitie ( mai deschisã sau mai închisã ) decãt a fost reglatã anterior, urmati instructiunile de mai jos:
1. Cu usa închisã desurubati surubul “ A “.
2. Rotiti cama “ C “ în pozitia “ E “ si strãngeti surubul “ A “.
3. Deschideti usa pãnã în punctul în care dispozitivul de blocare se cupleazã.
4. Desurubati surubul “ A “
5. Urmati pas cu pas instructiunile de la punctul 1 ( CUPLAREA STOPERULUI)


sigla
sigla
sigla
sigla
sigla
sigla
sigla
sigla
sigla
sigla
sigla
sigla
sigla
sigla
sigla
sigla
sigla
sigla
sigla
sigla
sigla
sigla
sigla
sigla