K 214-14

55 EUR (fara TVA)

Cod produs: K 214-14

Producator: BRANO, Cehia

Cantitate:

Rating:

Adauga un review

Nici un review

ADAUGA UN REVIEW

amortizor argintiu/auriu pentru usa de 42 - 72 kg. si latime 1,05m
finisaj:Au/Ag
42-72


Aspect clasic.
Se folosesc pentru usa de stanga si dreapta.
Montaj usor.
Cu reglaj de forta si viteza a ciclului de inchidere.
Amplitudine a unghiului de deschidere a usii ajustabila.
Produs in trei marimi de forta:

-marime 12 20-38kg greutate usa 80cm latime usa(max)
-marime 13 30-60kg greutate usa 90cm latime usa(max)
-marime 14 42-70kg greutate usa 105cm latime usa(max)


INSTRUCTIUNI DE MONTARE SI FOLOSIRE PENTRU AMORTIZORUL HIDRAULIC BRANO K 214


Cititi aceste instructiuni cu atentie inainte de asamblarea amortizorului.
Numai daca este corect montat si reglat va functiona perfect.
Pentru a asambla si monta amortizorul hidraulic pentru usa, este nevoie de anumite cunostinte tehnice si indemanare profesionala.
Montarea incorecta poate cauza functionarea improprie a amortizorului.
Recomandam ca instalarea si reglarea sa fie facute de personal calificat.
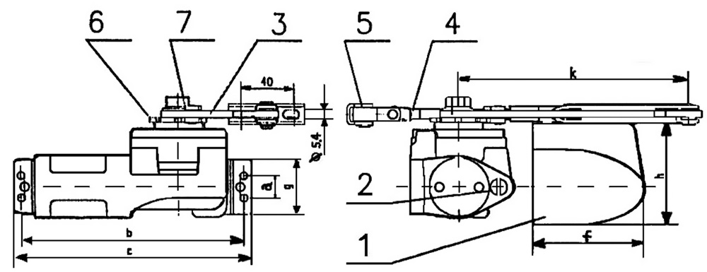
LEGENDA:
1=carcasa
2=surub reglaj
3=brat mobil
4=brat fix
5=articulatie brat
6=roata tricheta
7=ax prindere brat



LISTA ACCESORIILOR DIN CUTIE:

- schita si sablonul de montaj
- 4 holsuruburi pentru prinderea amortizorului
- 2 holsuruburi pentru prinderea bratului
- cheie pentru strangerea arcului
- instructiuni de montaj


INFORMATII UTILE:
Alegeti amortizorul in functie de greutatea si latimea usii, conform tabelului.

Pentru usile exterioare sau de intrare expuse curentului, recomandam folosirea unui amortizor cu un numar mai mare.



MONTAREA AMORTIZORULUI

1. GENERALITATI
Inainte de asamblare fiti siguri ca:
- usa intra perfect in toc
- usa se deschide /inchide fara frecare
- balamalele sunt unse
Recomandam insistent ca montarea amortizorului sa se faca pe partea interioara a usii si in asa fel incat sa nu fie nevoie de un suport.
Amortizorul poate fi montat si in pozitia rasturnat (cu bratul in jos)



2. SCHIMBAREA AMORTIZORULUI DE PE STANGA PE DREAPTA:

- scoateti carcasa prin tragere
- scoateti roata tricheta nr.6
- scoateti capacul prin tragere spre inapoi
- scoateti arcul si puneti-l in pozitie inversa (prin rasturnare) astfel incat capatul indoit sa intre in degajarea din partea superioara a capacului.

La usile pe stanga balamalele sunt vizibile in stanga, iar la cele pe dreapta sunt vizibile in dreapta.!
3. MONTAREA BRATULUI:
Amortizoarele pentru usa sunt livrate cu un brat format din 2 parti: bratul mobil (3) care se fixeaza pe ax (7) si bratul fix (4) care se fixeaza pe tocul usii sau pe usa. Axul filetat (7) este frezat excentric, rezultand doua laturi paralele inegale, prinderea bratului (3) facandu-se astfel:
- se identifica vizual forma axului privit de sus (aproximativ trapezoidala)
- se identifica decuparea din capatul bratului
- se fixeaza bratul in ax si se blocheaza prin insurubarea piulitei
Numai montarea in aceasta pozitie a bratului (fara a se incerca sub nici o forma pilirea lui) va permite ulterior realizarea performantelor amortizorului si un reglaj corect
4. MARCAREA ORIFICIILOR DE PRINDERE
Marcarea se face numai cu ajutorul sablonului de montaj.
Inainte de a marca gaurile de prindere, decideti daca usa se va deschide intr-un unghi de 90 grade (A) sau peste 90 grade (B) - vezi sablonul. In functie de acest lucru aplicati sablonul pe
usa si marcati locurile pentru gaurire, pentru a prinde amortizorul si bratul. Pentru a preveni deteriorarea amortizorului in cazul deschiderii usii peste 90 grade (montaj pozitia A) sau 130 grade (montaj pozitia B) daca este necesar, se va monta un limitator de deschidere a usii (opritor).
5. GAURIREA
- Pentru usi si tocuri din lemn se foloseste burghiu Ø=3,5 mm cu adancimea de gaurire de 14 mm in usa si 25 mm in toc. Daca usa este goala inauntru dati gaurile prin usa. Apoi atasati amortizorul cu suruburi M5 de lungime potrivita, iar pe partea cealalta a usii se pune piulita si saiba plata
asa cum se vede in figura de mai jos:
- Pentru usi de metal se gaureste cu burghiu Ø=4,2 mm. Daca nu este suficient spatiu pentru fixarea amortizorului pe usa se va suda un suport metalic in forma de “U” de tocul superior al usii. Peste acest suport se va prinde cu 4 suruburi corpulamortizorului, bratul fixandu-se cu 2 suruburi de marginea superioara a usii.


6. PRINDEREA AMORTIZORULUI SI A BRATULUI

Amortizorul se prinde in 4 holsuruburi 5x30 mm astfel incat sa fie lipit de usa cu toata suprafata talpii de prindere. Se interzice montarea pe suprafete denivelate sau prinderea amortizorului in 2 sau 3 suruburi, deoarece in functionare e necesara o repartizare uniforma a sarcinii pe cele 4 urechi de prindere. Bratul se prinde in tocul usii cu 2 holsuruburi 5x25 mm. Inainte de a monta bratul, ajustati lungimea astfel incat sa formeze cu tocul usii un unghi de aproximativ 90 grade.
Pentru usi de metal se folosesc suruburi M5. NU SE RECOMANDA suruburi autofiletante. Holsuruburile sau suruburile se strang bine si uneori chiar se sudeaza sau se nituiesc pentru a impiedica furtul amortizorului.



7. AJUSTAREA PUTERII DE PRESIUNE A ARCULUI

Arcul este elementul care inmagazineaza forta de inchidere a usii. Puterea de presiune a arcului se ajusteaza prin invartirea rotii tricheta (6) cu cheia speciala livrata in accesorii, in sensul acelor de ceas, in limita a 1-4 dinti. Ne asiguram ca piulita este bine stransa pe ax (7).
Pentru usile pe stanga roata tricheta se invarte in sens invers acelor de ceas.
Pentru usile pe dreapta roata tricheta se invarte in sensul acelor de ceas.
8. AJUSTAREA VITEZEI DE INCHIDERE

Viteza de inchidere se ajusteaza prin rotirea surubului de reglaj (2) dupa scoaterea carcasei (1). Se strange pentru a prelungi durata de inchidere. Se slabeste pentru a scurta durata de inchidere, marind viteza de inchidere a usii.
9. REGLAREA PUTERII DE INCHIDERE

Se ajusteaza puterea de inchidere a usii modificand lungimea bratului (4) dupa cum urmeaza:
- se demonteaza inelul elastic (saiba elastica) (9) si se scoate boltul (10)
Lovitura usii devine mai puternica prin desurubarea (lungirea) bratului si descreste prin insurubarea (scurtarea) lui. A se vedea figura urmatoare:
INTRETINERE SI REPARATII

Amortizorul de usa nu cere o intretinere speciala.
In caz ca in timp se schimba viteza de inchidere a usii aceasta se ajusteaza conform “INSTRUCTIUNILOR DE FOLOSIRE”. Amortizorul este stabil termic, neavand nevoie de reglaje deosebite datorate diferentelor de temperatura (iarna-vara).
Amortizorul se va pastra curat si se va unge din cand in cand articulatia bratului.Controlati din cand in cand daca corpul amortizorului sau bratul s-au slabit din suruburi. In acest caz strangeti suruburile sau holsuruburile pana la fixare. Cand temperatura mediului ambiant scade foarte mult, cresterea vascozitatii lichidului hidraulic poate duce la scaderea vitezei de inchidere. In acest caz se regleaza surubul (2) printr-o usoara deschidere.


INLOCUIREA ARCULUI

Daca arcul este rupt se inlocuieste dupa cum urmeaza:
a) se scoate capacul
b) se demonteaza bratul (3)
c) se scoate roata tricheta (6)
d)se inlocuieste arcul defect cu unul nou


DEMONTAREA AMORTIZORULUI

Intotdeauna eliberati arcul inainte de demontarea amortizorului dupa cum urmeaza:
- eliberati axul (7) prin desurubarea piulitei si scoaterea bratului mobil (3)
- simultan anulati rezistenta arcului cu ajutorul cheii de asamblare. ATENTIE! nu eliberati brusc arcul, ci in mod treptat.


PRODUSUL PREZINTA UN AN GARANTIE NUMAI DACA AMORTIZORUL A FOST MONTAT CONFORM INSTRUCTIUNILOR ANTERIOARE SI DACA S-AU RESPECTAT IN SPECIAL URMATOARELE:

1.Corpul amortizorului a fost fixat in toate cele 4 suruburi.
2.Pozitionarea lui s-a facut conform sablonului de montaj din accesorii.
3.Usa pe care a fost montat, nu este mai grea decat marimea amortizorului.
4.Amortizorul nu a fost supus unor interventii neautorizate care au condus la deteriorarea lui partiala .

FIRMA NOASTRA ASIGURA SERVICE SI PIESE DE SCHIMB ATAT IN PERIOADA IN CARE PRODUSUL SE AFLA IN GARANTIE,CAT SI DUPA ACEASTA PERIOADA.


sigla
sigla
sigla
sigla
sigla
sigla
sigla
sigla
sigla
sigla
sigla
sigla
sigla
sigla
sigla
sigla
sigla
sigla
sigla
sigla
sigla
sigla
sigla
sigla